首页
白嫖
交流
爆奖
du圈
工具
稳台
广告
曝光
综合
商城
商城
du圈
预测网
排行榜
每日任务
搜索
抽奖
登录/注册
曝光
2
曝光
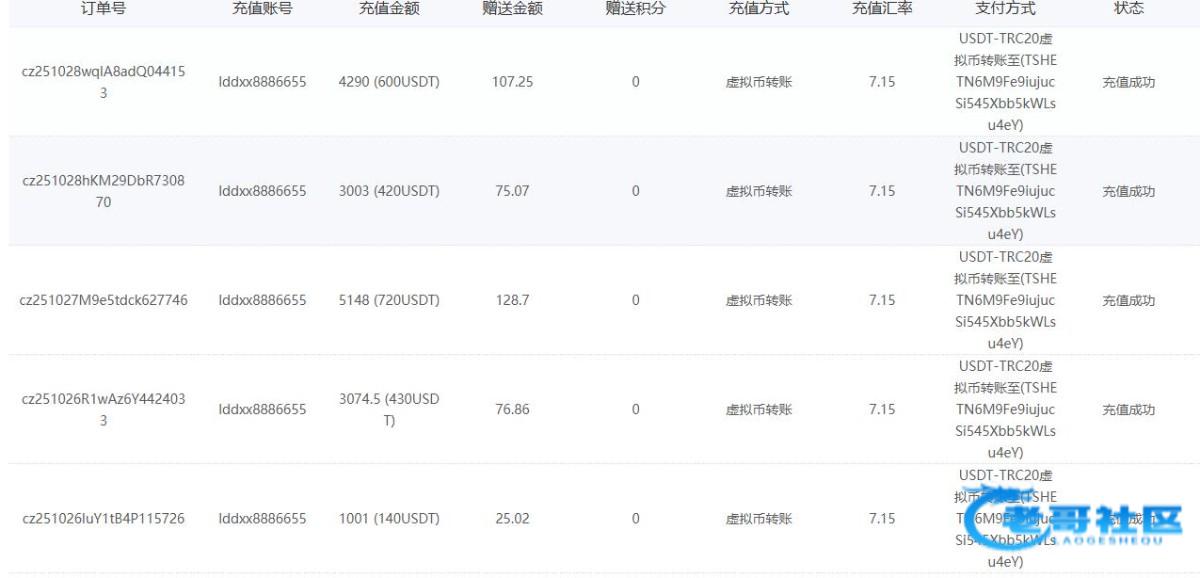
皇马彩票 505001.com 707017.com黑款
皇马彩票 505001.com 707017.com黑款
躺下了
发布于
1月前
613
2
玩pg不给下分转账,第一次碰到这种黑比台子
最新回复
(
2
)
一路发88888
1月前
2
楼
上个名字还叫聚彩这就是黑台
躺下了
▶
一路发88888
之前就是这个台,兄弟你是怎么知道这个台的
1月前
老哥社区
4
楼
立即登录
或
免费注册
回帖
高级回复
请先登录后发表评论!
登录
注册
返回
躺下了
UID:3519
老哥常驻
搜索
请先登录后发表评论!
2